您好,欢迎访问武汉长江新区临港产业园网站

招商信息

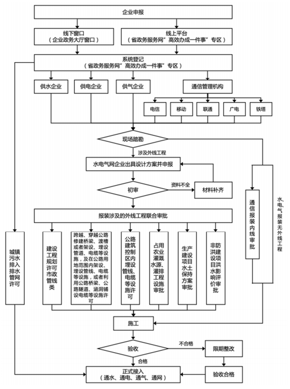
水电气网联合报装“一件事”办事指南

来源: 发布时间:2025-08-01

审批事项名称

水电气网联合报装“一件事”

办理渠道

线下综窗

湖北政务服务网

鄂汇办APP

工程建设专区咨询电话

027-85998762

综窗

咨询电话

027-85998326

027-85998370

相关部门

新区住建局

新区规划局

新区发改局

新区城管局

新区科创局

新区环境水务局

新区公安分局

收费标准

不收费

办理时限

3—15个工作日

跑动次数

0次

办理环节

1个

设定依据

1. 《城市供水条例》1994年7月19日第二条

2. 《中华人民共和国电力法》1995年12月28日第二十五条

3. 《电力供应与使用条例》1996年4月17日第四条

4. 《城市道路管理条例》2019年3月24日第三十条、第31条

5. 《公路安全保护条例》2011年3月7日第二十七条

6. 《湖北省电信设施建设与保护办法》2019年5月11日第十一条、第十七条

服务对象

企业及法人

申请人需要提交材料及要求

申请材料清单见附件

办理流程

申请受理→审核审批→办结送达

网办地址

http://zwfw.hubei.gov.cn/

审批结果名称

1城镇污水排入排水管网许可证

2建设工程规划许可证

3湖北省高速公路涉路施工活动许可证

4普通公路涉路施工许可证

5行政许可决定书

6水土保持行政许可

7准予水行政许可决定书

8非防洪建设项目洪水影响评价报告审批结果

受理条件

序号

涉及事项

受理条件


水电气网接

入外线工程

联合审批

一、挖掘占道和占用全市公共绿化用地的新建、扩建、改建的城

市道路交付使用后5年内、大修的城市道路竣工后3年内不得挖

掘,因特殊情况需要挖掘的,须经县级以上城市人民政府批准。

二、《公路安全保护条例》第二十七条所列有关架设、埋设和铺设管道、电缆等设施的涉路施工活动。

三、市政线性工程设计方案审查(支线管线):

1.已经办理该建筑工程用地批准手续;

2.新征地项目应取得《建设用地规划许可证》;

3.具有本年度有效建设项目批准、核准、备案文件;4.需要 拆迁的,应附送拆迁文件。

四、占用、挖掘城市道路(用户配套设施项目)审批:《行政许可 法》第三十二条第(五)条申请事项属于本行政机关职权范围,申请材料齐全、符合法定形式,或者申请人按照本行政机关的要求提交全部补正申请材料的,应当受理行政许可申请。临时占用城市绿化用地审批:1.已通过资源规划或政府有关部门审核;2.临时占用绿地位置与设计图纸相符;3.各项申请文件、资料和图纸完备。

2

供电报装

取得建设工程规划许可证。

3

燃气报装

取得建设工程规划许可证。

4

供排水报装

取得建设工程规划许可证。

5

通信报装

建设工程项目竣工完成,并符合国家标准,具备报装接入条件。

办理流程

888



湖北省水电气网联合报装“一件事”材料清单

序号

材料名称

材料形式

材料类型

材料必要性

来源渠道

来源渠道说明

纸质材料份数

1

水电气网联合报装“一件事”申请表

电子

原件

必要

申请人自备

0

2

营业执照

电子

原件

必要

政府部门核发

0

3

组织机构代码证

电子

原件

必要

政府部门核发

0

4

中华人民共和国居民身份证

电子

原件

必要

政府部门核发

0

5

通信基础设施验收备案表

电子

原件

必要

政府部门核发

0

6

委托他人申报手续的提供由法定代表人出具的委托书

电子

原件

非必要

申请人自备

0

7

城市排水许可申请表

电子

原件

必要

政府部门核发

0

8

排水户内部排水管网、专用检测井、污水排放口位置、口径的图纸及说明;主要生产工艺及水污染生产流程、污水预处理工艺流程框图和用户排水水质情况表等材料

电子

原件

必要

申请人自备

0

9

排水隐蔽工程竣工报告

电子

原件

必要

申请人自备

0

10

列入重点排污单位名录的排水户应当提供已安装的主要水污染物排放自动监测设备

电子

原件

必要

申请人自备

0

11

按规定建设污水预处理设施的有关材料

电子

原件

必要

申请人自备

0

12

建设工程规划许可证申请表

电子

原件

必要

政府部门核发

0

13

建设工程规划许可证申请表

电子

原件

必要

申请人自备

0

14

方案设计图

电子

原件

必要

申请人自备

0

15

1:500现状地形图

电子

原件

必要

申请人自备

0

16

建设单位非用户型管线年度建设计划或用户型管线报装申请

电子

原件

非必要

申请人自备

0

17

修建规划或初步设计以上深度设计文件

电子

原件

非必要

申请人自备

0

18

《划拨决定书》及附图或《国有建设用地使用权出让合同》及附图

电子

原件

必要

政府部门核发

0

19

方案审查意见、《建设规划方案批准意见书》及审批蓝图

电子

原件

必要

政府部门核发

0

20

《交通行政许可申请书》

电子

原件

必要

政府部门核发

0

21

符合有关技术标准、规范要求的设计和施工方案

电子

原件

必要

申请人自备

0

22

保障公路、公路附属设施质量和安全的技术评价报告

电子

原件

必要

申请人自备

0

23

处置施工险情和意外事故的应急预案

电子

原件

必要

申请人自备

0

24

占用农业灌溉水源、灌排工程设施申请书

电子

原件

必要

申请人自备

0

25

评估机构评定的补偿方案

电子

原件

必要

申请人自备

0

26

被占用农业灌溉水源、灌排工程设施的权属证明

电子

原件

必要

申请人自备

0

27

被占用农业灌溉水源、灌排工程设施涉及利害关系各方的协议(承诺)书

电子

原件

必要

申请人自备

0

28

生产建设项目水土保持方案报告表

电子

原件

必要

申请人自备

0

29

水土保持行政许可承诺书

电子

原件

必要

申请人自备

0

30

洪水影响评价审批表

电子

原件

必要

申请人自备

0

31

洪水影响评价报告

电子

原件

必要

申请人自备

0

湖北省水电气网联合报装“一件事”办理登记表

报装用户基本信息及项目基本概况(必填项)

申请单位


统一社会信用代码


申请地址

市 街道(乡、镇) 路 号

联系人


联系方式


联合报装事项

用水报装 用电报装 用气报装□

网络报装□ 有线电视□

用水报装(选填)

业务类型:新开户 增容□

用水需求: 吨/日

用水性质:生产□ 生活□ 消防□

用电报装(选填)

业务类型:新装[ 增容 用电容量: 千伏安(千瓦)

用气报装(选填)

业务类型:新开户 增容□

用气需求: 立方米/日

用气性质: 生产 生活

通信报装(选填)

业务类型:新建□改建口 扩建口

报装类别:新建住宅区和住宅建筑口商务楼宇□公共建筑口

申请类型:光纤接入口无线信号接入口

用户接入数量: (户)

带宽需求: